Misją Instytutu jest dzialalność naukowo-badawcza prowadząca do nowych rozwiązań technicznych i organizacyjnych użytecznych w kształtowaniu warunków pracy zgodnych z zasadami bezpieczeństwa pracy i ergonomii oraz ustalanie podstaw naukowych do właściwego ukierunkowywania polityki społeczno-ekonomicznej państwa w tym zakresie.
![]() | Statystyka wypadków przy pracy |
![]() | Stosowanie środków ochrony indywidualnej |
![]() | Wymagania prawne dotyczące środków ochrony indywidualnej |
![]() | Zasady oceny zgodności środków ochrony indywidualnej |
![]() | Ogólne zasady doboru środków ochrony indywidualnej |
![]() | Metody doboru środków ochrony indywidualnej |
![]() | Grupy czynników szkodliwych |
![]() | Typy środków ochrony indywidualnej |
![]() | Zasady znakowania |

|
Podzespół łącząco-amortyzujący |
Zadaniem podzespołu łącząco-amortyzującego jest połączenie uprzęży, w którą ubrany jest człowiek, z punktem kotwiczenia na konstrukcji nośnej oraz złagodzenie skutków powstrzymywania spadania człowieka.
Łagodzenie skutków powstrzymywania spadania odbywa się poprzez pochłanianie energii kinetycznej powstającej w fazie swobodnego spadania człowieka z wysokości. Przykładami rozwiązań podzespołów łącząco-amortyzujących są: amortyzator włókienniczy z linką bezpieczeństwa, urządzenie samohamowne, urządzenie samozaciskowe z giętką lub sztywną prowadnicą. Przykłady te w uproszczony sposób przedstawiono na rysunkach 1a, 1b i 1c.
Podzespół łącząco-amortyzujący, pochłaniając energię kinetyczną spadającego człowieka, ogranicza siłę działającą na klamrę zaczepową uprzęży do wartości nie większej niż 6 kN. Wartość ta jest uznawana za bezpieczną dla organizmu człowieka w przypadku stosowania szelek bezpieczeństwa.
Przykładowy efekt działania amortyzatora włókienniczego w porównaniu z linką bezpieczeństwa podczas powstrzymywania spadania sztywnego obciążnika o masie 100 kg przedstawiono na rysunku 2. Wykres ten potwierdza zasadę, że sama linka bezpieczeństwa nie może być stosowana jako podzespół łącząco-amortyzujący, gdyż nie zapewnia odpowiedniego ograniczenia obciążeń dynamicznych działających na organizm człowieka.
Urządzenia samohamowne i samozaciskowe, podobnie jak amortyzatory włókiennicze, ograniczają siłę działającą w punkcie kotwiczenia na konstrukcji stałej do bezpiecznej dla człowieka wartości, a ponadto skracają do niezbędnego minimum drogę swobodnego spadania człowieka.
Właściwość ta jest niezwykle cenna z punktu widzenia zmniejszenia ryzyka uderzenia spadającego człowieka o elementy konstrukcji stanowiska pracy oraz wystąpienia u niego przeciążeń mogących wywołać obrażenia organów wewnętrznych oraz kręgosłupa.
Rys. 1a. Przykładowe rozwiązania podzespołów łącząco-amortyzujących
Amortyzator włókienniczy z linką bezpieczeństwa
1 - amortyzator włókienniczy, 2 - linka bezpieczeństwa
Rys. 1b. Przykładowe rozwiązania podzespołów łącząco-amortyzujących
Urządzenia samohamowne
a) Urządzenie z linką stalową
b) Urządzenie z taśmą włókienniczą
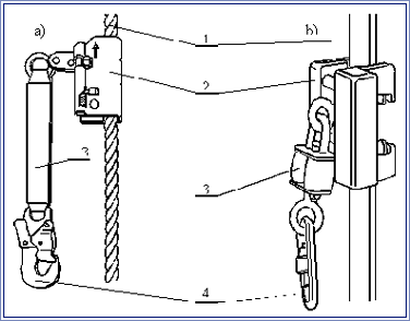
Rys. 1c. Przykładowe rozwiązania podzespołów łącząco-amortyzujących
Urządzenia samozaciskowe
a) Urządzenie z giętką prowadnicą; b) Urządzenie ze sztywną prowadnicą
1- prowadnica, 2 - mechanizm samozaciskowy, 3 - element pochłaniający energię, 4 - zatrzaśnik
Rys. 2 Łagodzenie skutków powstrzymywania spadania przez podzespoły łącząco-amortyzujące
a) Powstrzymywanie spadania przez linkę bezpieczeństwa
b) Powstrzymywanie spadania przez amortyzator włókienniczy
Certyfikacji środków ochrony indywidualnej
Środki ochrony
indywidualnej - ARTYKUŁY
DOBÓR środków
ochrony indywidualnej
Środki ochrony
indywidualnej w MŚP
Monitorowanie ZUŻYCIA środków
ochrony indywidualnej
OBRÓT środkami ochrony
indywidualnej do użytku
pozazawodowego
Środki ochrony skóry
- wymagania, dobór, stosowanie
PORADNIK (pdf)